Вы здесь: Дом > ПРОДУКТЫ > Радиально-упорный шарикоподшипник

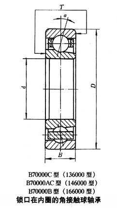
B7032ACQ1 Радиально-упорные шарикоподшипники в основном подвергаются большим односторонним осевым нагрузкам. Чем больше угол контакта, тем выше несущая способность. Материал сепаратора — стальная пластина, латунь или инженерный пластик. Способ формовки – штамповка или точение, в зависимости от формы подшипника или условий эксплуатации. Другие комбинации радиально-упорных шарикоподшипников, двухрядных радиально-упорных шарикоподшипников и шарикоподшипников с четырёхточечным контактом.

Тел.:

Обзор

Примерная схема подшипника

рекомендуемые